-     ZXN悬挂式中心传动浓缩刮泥机振云详细信息加工定制:是 品牌:振云 型号:ZXN 总功率:0.37-0.75 kw 周边线速度:1.2-3 m/min 无故障时间:10000 h 材质:水上碳钢防腐,水下不锈钢 一、概述
 该机一般用于池径小于18 米的圆形沉淀池,靠静水压力或输送泵作用下将污泥或物料及时排出。
 
 二、结构及工作原理
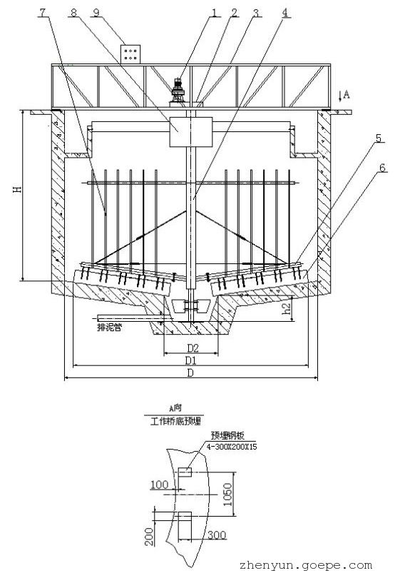
 ZXN悬挂式中心传动(浓缩)刮泥机用于污水处理厂和工业生产物料的沉淀浓缩池,将浓缩污泥刮集至池底中心集泥斗,在静水压力或输送泵作用下将污泥及时排走,以便进行下一步的污泥处理。如图所示,ZXN型悬挂式中心传动浓缩刮泥机由1 驱动装置、2 工作桥、3 堰板(附件)、4 主轴、5 刮臂、6 刮板、7 浓缩栅(选择件)、8 稳流筒(附件)、9 现场控制柜等组成。 刮臂在驱动装置带动下随中心主轴旋转,刮臂上的刮泥板将沉积在池底的污泥由外向内推向池中心集泥斗。当运行过程中,由于刮板、刮臂受异物卡塞等意外原因导致过载工作时,自动报警停机。
 - 主要特点 
 ZXN 系列悬挂式中心传动浓缩刮泥机为中心传动悬挂式结构,不需中心支墩,对池顶周边路面水平度和路面强度无要求,土建结构简单;
 可自带钢结构桁架工作桥,简化土建工程;
 传递扭矩大,稳定性好,安装方便,维修简单;
 有双重过载保护,工作可靠;
 能进一步分离浓缩污泥中的自由水分,以减少污泥体积,提高污泥浓缩效果,有利于提高沉淀效率;
 中心传动浓缩刮泥机工作时,固定于刮臂上的垂直栅条在驱动机构的动力作用下缓慢转动,均匀搅拌泥水,促使泥水分离,促进 污泥颗粒的聚结,加快污泥的沉淀与浓缩,再通过刮泥板将浓缩的污泥刮入浓缩池中心泥斗。
 
 四、外型结构和主要技术参数
 主要技术参数表型号 
 参数ZXN-4 ZXN-5 ZXN-6 ZXN-8 ZXN-10 ZXN-12 ZXN-14 ZXN-16 ZXN-18 池径D(m) 4 5 6 8 10 12 14 16 18 刮臂直径D1(m) 3.6 4.6 5.6 7.6 9.6 11.6 13.6 15.6 17.6 池边深度H(m) 3.2 3.6 4.0 4.4 4.8 集泥斗深度h2(m) 0.5 0.6 集泥坑上部直径 
 D2(m)1.2 1.5 2.0 池底坡度i 1:10 1:12 刮板外缘线速度 m/min 1.2 ~ 3.0 电动机功率kw 0.15~ 0.37 
 注:
 1、除表所列规格外,还可以根据用户生产其它规格型号和沉淀池直径的浓缩刮泥机,池边深度和周边线速度也可以由用户确定;
 2、出水堰板,浮渣挡板,浓缩栅为选择件,需要时,请在订货合同中说明;
 3、需要配置撇渣装置时请在订货时注明;
 
- 主要特点 
- 
- 
产品搜索
- 
产品分类- 
          GL型链板回转式除污机
- 
          HF型回转式固液分离机
- 
          NJL型内进流式网板细格栅
- 
          WB型网板式阶梯格栅除污机
- 
          ZG型转鼓式螺旋除污机
- 
          WLN型旋转微滤机
- 
          XL型旋转滤网
- 
          GZG型周边传动刮泥机
- 
          ZSB转刷网蓖式清污机
- 
          PD型皮带输送机
- 
          WLS型无轴螺旋输送机
- 
          YS型螺旋输送压榨机
- 
          LYZ型螺旋压榨机
- 
          XLC型旋流沉砂池除砂机
- 
          SF型砂水分离器
- 
          QXS型桥式吸砂机
- 
          ZQX 周边传动全桥式多管吸泥机
- 
          ZXN型悬挂式中心传动浓缩刮泥机
- 
          CZG型垂架式中心传动(浓缩)刮泥机
- 
          ZXJ 中心传动单管吸泥机
- 
          PHX型行车式刮吸泥机
- 
          PHG型行车式提板刮泥机
- 
          ZYLS型连续流砂过滤器
- 
          ZYZP型纤维转盘滤池
- 
          JXG型机械过滤器
- 
          LC型石灰料仓
- 
          JY型干粉投加装置
- 
          DL型叠螺污泥脱水机
- 
          DNY型带式浓缩压滤一体脱水机
- 
          CZ型不锈钢插板闸门
- 
          XBS型旋转式滗水器
- 
          LMA型高效沉淀池
- 
          ZF型组合气浮
- 
          WN型污泥斗
- 
          SSG型水力筛
 
- 
          
- 	公司相册
 扫一扫,手机浏览
扫一扫,手机浏览














